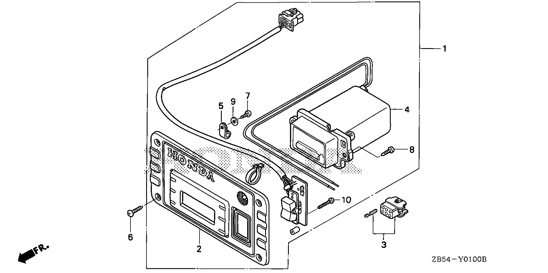
RV Generators EV EV4010 EV4010 BA ECA-1000001-1007535 REMOTE CONTROL PANEL - RC Hill Honda of DeLand

Ref No
Part Number
Description
Serial Range
Qty
Price

Ref No
1
Part Number
31610-ZB5-632
Description
PANEL ASSY., REMOTE CONTROL
Serial Range
1000001 - 9999999

Ref No
2
Part Number
31612-ZB5-631
Description
PANEL, FR. REMOTE
Serial Range
1000001 - 9999999
Qty
Price
$73.06

Ref No
3
Part Number
06560-ZB5-100AH
Description
CONNECTOR ASSY., CAP
Serial Range
1000001 - 9999999
Qty
Price
$14.91

Ref No
4
Part Number
39700-ZB5-014
Description
METER ASSY., HOUR
Serial Range
1000001 - 9999999
Qty
Price
$423.52

Ref No
5
Part Number
90627-ZA8-E50
Description
CLIP (7.5MM)
Serial Range
1000001 - 9999999
Qty
Price
$4.29

Ref No
6
Part Number
93901-12280
Description
SCREW, TAPPING (3X10)
Serial Range
1000001 - 9999999
Qty
Price
$0.82

Ref No
7
Part Number
93901-34320
Description
SCREW, TAPPING (4X12)
Serial Range
1000001 - 9999999
Qty
Price
$1.79

Ref No
8
Part Number
93901-35320
Description
SCREW, TAPPING (5X16) (NOT AVAILABLE)
Serial Range
1000001 - 9999999

Ref No
9
Part Number
94101-04800
Description
WASHER, PLAIN (4MM)
Serial Range
1000001 - 9999999
Qty
Price
$1.92

Ref No
10
Part Number
93903-32520
Description
SCREW, TAPPING (3X20)
Serial Range
1000001 - 9999999
Qty
Price
$0.90