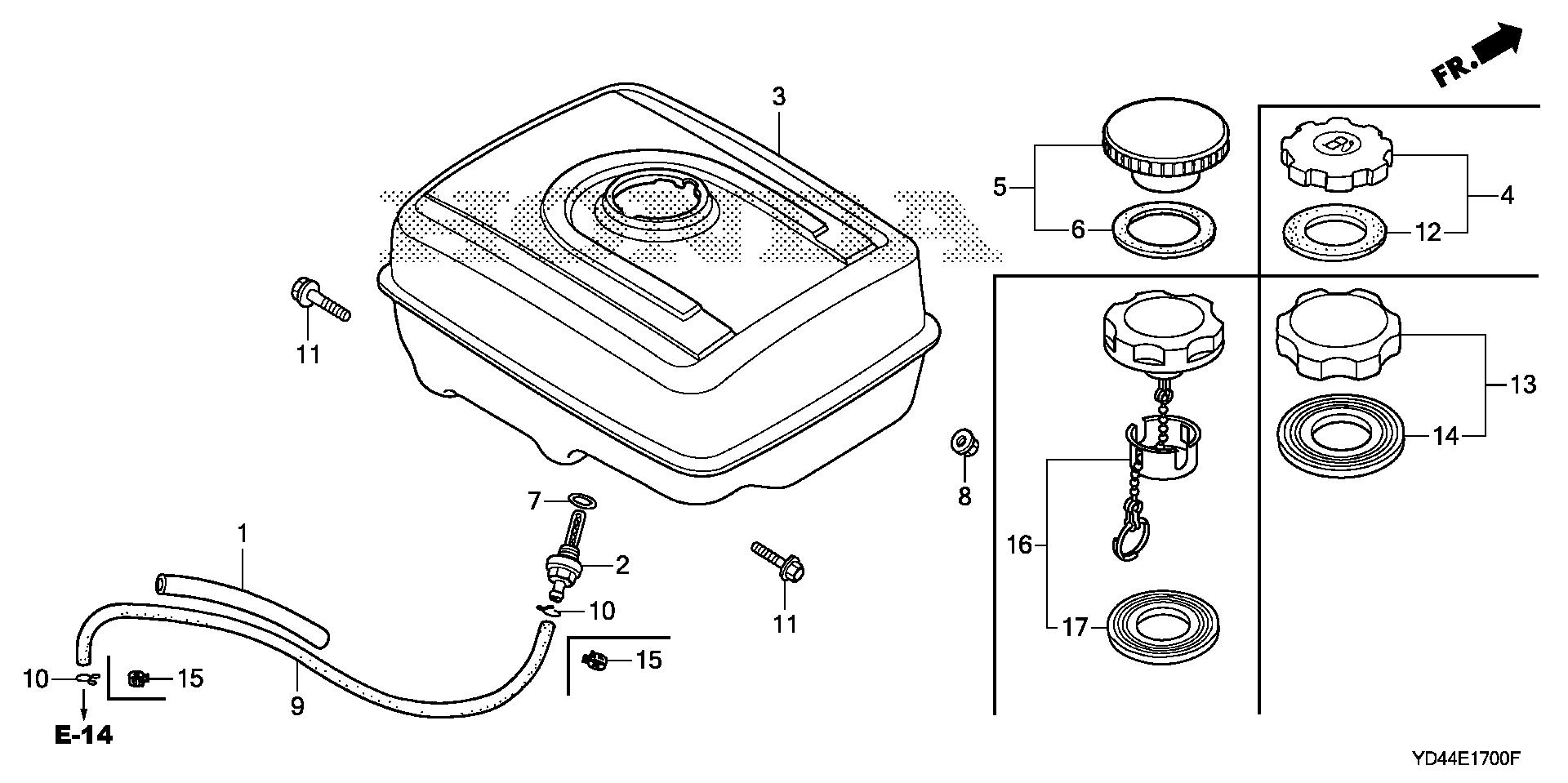
Water Pumps WT WT40 WT40XK2 AC WACJ-1000001-1099999 FUEL TANK - RC Hill Honda of DeLand

Ref No
Part Number
Description
Serial Range
Qty
Price

Ref No
1
Part Number
16854-ZH8-000
Description
RUBBER, SUPPORTER (107MM)
Serial Range
1000001 - 9999999
Qty
Price
$7.84

Ref No
2
Part Number
16955-ZE1-010
Description
JOINT, FUEL TANK
Serial Range
1000001 - 9999999

Ref No
3
Part Number
17510-ZE3-030ZA
Description
TANK, FUEL *NH31* (MCKINLEY WHITE)
Serial Range
1000001 - 9999999
Qty
Price
$161.22

Ref No
4
Part Number
17620-ZH7-023
Description
CAP, FUEL FILLER (BLACK)
Serial Range
1000001 - 9999999

Ref No
7
Part Number
91353-671-003
Description
O-RING (13.5X1.5) (ARAI)
Serial Range
3700315 - 9999999
Qty
Price
$5.60

Ref No
8
Part Number
94050-08000
Description
NUT, FLANGE (8MM)
Serial Range
1000001 - 9999999

Ref No
9
Part Number
95001-45003-60M
Description
BULK HOSE, FUEL (4.5X3000) (4.5X235)
Serial Range
1000001 - 9999999
Qty
Price
$82.82

Ref No
10
Part Number
95002-02080
Description
CLIP, TUBE (B8)
Serial Range
2575205 - 9999999
Qty
Price
$3.52

Ref No
11
Part Number
95701-08025-00
Description
BOLT, FLANGE (8X25)
Serial Range
4137235 - 9999999
Qty
Price
$3.49

Ref No
12
Part Number
17631-ZE1-000
Description
GASKET, FUEL FILLER CAP (39X58X3)
Serial Range
1000001 - 9999999
Qty
Price
$5.57

Ref No
12
Part Number
17631-ZH7-003
Description
GASKET, FUEL FILLER CAP (39X58X3)
Serial Range
3700315 - 9999999

Ref No
16
Part Number
17620-Z4H-900
Description
CAP, FUEL FILLER
Serial Range
3700315 - 9999999
Qty
Price
$102.35

Ref No
16
Part Number
17620-Z4H-910
Description
CAP, FUEL FILLER
Serial Range
1439461 - 9999999

Ref No
16
Part Number
17620-Z4H-912
Description
CAP, FUEL FILLER
Serial Range
2195831 - 9999999
Qty
Price
$102.35

Ref No
17
Part Number
17631-Z0T-801
Description
GASKET, FUEL FILLER CAP (39X62X3) (RADICON)
Serial Range
2238009 - 9999999
Qty
Price
$0.84