Water Pumps WT WT30 WT30XK1 CR WAF-1000001-1099999 LABEL@TOOL - RC Hill Honda of DeLand

Ref No
Part Number
Description
Serial Range
Qty
Price

Ref No
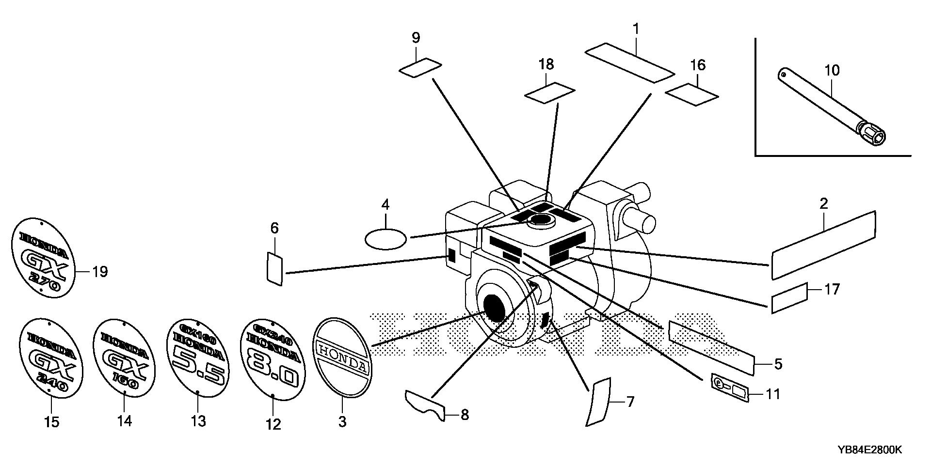
1
Part Number
78141-YB3-610
Description
MARK, CAUTION (PUMP)
Serial Range
1000001 - 9999999
Qty
Price
$10.37

Ref No
2
Part Number
78145-YB2-701
Description
MARK (WT30X)
Serial Range
1000001 - 9999999
Qty
Price
$8.83

Ref No
3
Part Number
87521-ZE2-830
Description
EMBLEM (EXTERNAL-ALERT) (NOT AVAILABLE)
Serial Range
1000001 - 9999999

Ref No
4
Part Number
87522-ZE1-810
Description
MARK, CAUTION
Serial Range
1000001 - 9999999
Qty
Price
$4.67

Ref No
6
Part Number
87528-ZE2-810
Description
MARK, CHOKE (ORANGE)
Serial Range
2099790 - 9999999
Qty
Price
$5.15

Ref No
8
Part Number
87532-ZE1-810
Description
MARK, OIL ALERT (EXTERNAL) (NOT AVAILABLE)
Serial Range
2099790 - 9999999

Ref No
10
Part Number
89218-ZE1-000
Description
WRENCH, SPARK PLUG
Serial Range
4916731 - 9999999
Qty
Price
$32.90