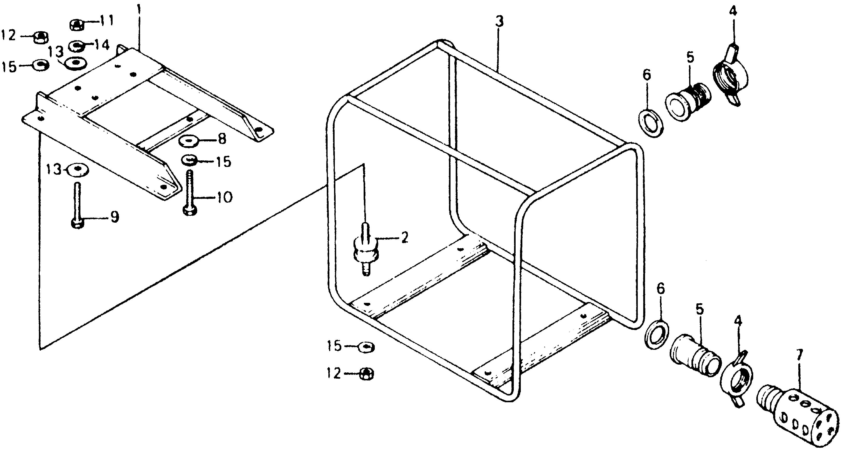
Water Pumps WT WT20 WT20X C GX140-1000001-9999999 FRAME BED@HOSE COUPLING - RC Hill Honda of DeLand

Ref No
Part Number
Description
Serial Range
Qty
Price

Ref No
1
Part Number
78203-YB1-701
Description
BASE, ENGINE (NOT AVAILABLE)
Serial Range
1000001 - 9999999

Ref No
2
Part Number
78205-YB1-003
Description
RUBBER, CUSHION (NOT AVAILABLE)
Serial Range
1000001 - 9999999

Ref No
3
Part Number
78206-YB1-701
Description
PIPE, BASE (NOT AVAILABLE)
Serial Range
1000001 - 9999999

Ref No
4
Part Number
78311-YB1-003
Description
COUPLING, HOSE (NOT AVAILABLE)
Serial Range
1000001 - 9999999

Ref No
5
Part Number
78316-YB1-003
Description
JOINT, SUCTION (NOT AVAILABLE)
Serial Range
1000001 - 9999999

Ref No
6
Part Number
78317-YB1-003
Description
GASKET, HOSE COUPLING
Serial Range
1000001 - 9999999
Qty
Price
$11.01

Ref No
7
Part Number
78325-YB1-901
Description
STRAINER (NOT AVAILABLE)
Serial Range
1000001 - 9999999

Ref No
8
Part Number
94101-10000
Description
WASHER, PLAIN (10MM)
Serial Range
1000001 - 9999999
Qty
Price
$2.24

Ref No
8
Part Number
94101-10000
Description
WASHER, PLAIN (10MM)
Serial Range
1000001 - 9999999
Qty
Price
$2.24

Ref No
9
Part Number
92101-08045-0A
Description
BOLT, HEX. (8X45)
Serial Range
1000001 - 9999999
Qty
Price
$4.16

Ref No
10
Part Number
92101-10025-0A
Description
BOLT, HEX. (10X25)
Serial Range
1000001 - 9999999
Qty
Price
$4.48

Ref No
11
Part Number
94001-08000-0S
Description
NUT, HEX. (8MM)
Serial Range
1000001 - 9999999
Qty
Price
$2.56

Ref No
12
Part Number
94001-10000-0S
Description
NUT, HEX. (10MM)
Serial Range
1000001 - 9999999
Qty
Price
$2.82

Ref No
12
Part Number
94001-10000-0S
Description
NUT, HEX. (10MM)
Serial Range
1000001 - 9999999
Qty
Price
$2.82

Ref No
13
Part Number
94101-08000
Description
WASHER, PLAIN (8MM)
Serial Range
1000001 - 9999999
Qty
Price
$1.60

Ref No
14
Part Number
94111-08000
Description
WASHER, SPRING (8MM)
Serial Range
1000001 - 9999999
Qty
Price
$1.92

Ref No
15
Part Number
94111-10000
Description
WASHER, SPRING (10MM)
Serial Range
1000001 - 9999999
Qty
Price
$2.62

Ref No
15
Part Number
94111-10000
Description
WASHER, SPRING (10MM)
Serial Range
1000001 - 9999999
Qty
Price
$2.62